合作客戶/
拜耳公司 |
同濟大學 |
聯合大學 |
美國保潔 |
美國強生 |
瑞士羅氏 |
相關新聞Info
-
> 鼠李糖脂生物表面活性劑在液-固界面上的潤濕改性微觀機制研究(二)
> 肺內液表面張力的作用、臨床意義及測量方法(一)
> 不同種類與濃度的無機鹽氯化物對麥胚脂肪酶油-水界面特性的影響(二)
> 氣溶膠固定劑PAM-b-PVTES合成路線及GPC、DSC、表面張力等性能測試(三)
> 煤礦井下活性磁化水降塵機制及技術研究
> 電場電壓對明膠液滴荷質比、表面張力的影響及預測模型構建(二)
> 溫度對甜菜堿短鏈氟碳表面活性劑表面張力、鋪展、發泡性能影響(二)
> 煙道氣?稠油系統表面張力變化規律研究
> 海上抗超高溫低滲透儲層鉆開液配方設計及應用效果(二)
> 基于水煤漿流變性和動態表面張力觀察水煤漿的微觀破裂特性(二)
推薦新聞Info
-
> 不同礦漿濃度、粒度、伴生礦物、捕收劑和起泡劑對礦漿表面張力的影響(三)
> 不同礦漿濃度、粒度、伴生礦物、捕收劑和起泡劑對礦漿表面張力的影響(二)
> 不同礦漿濃度、粒度、伴生礦物、捕收劑和起泡劑對礦漿表面張力的影響(一)
> 長慶油田隴東地區的CQZP-1助排劑表/界面張力測量及現場應用(三)
> 長慶油田隴東地區的CQZP-1助排劑表/界面張力測量及現場應用(二)
> 長慶油田隴東地區的CQZP-1助排劑表/界面張力測量及現場應用(一)
> 液膜斷裂點與電壓最大值在表面張力測量中的對比研究(二)
> 液膜斷裂點與電壓最大值在表面張力測量中的對比研究(一)
> ?表面張力與表面張力系數測量:概念、方法與科學意義
> 微重力下二極對非均勻旋轉磁場控制半浮區液橋表面張力對流的數值研究(下)
便于調節的表面張力儀結構組成及原理
來源:江門市優彼思化學技術有限公司 瀏覽 1257 次 發布時間:2024-04-22
表面張力儀快速、可靠的質量控制模式,設定測量參數后可以準確測量并顯示表面張力值,能夠獨立設定測量范圍、測試數據數目、測量的平均值,是研發的理想工具。
現有的表面張力儀包括殼體、工作臺和標準板,殼體內設置有工作腔,殼體上設置有玻璃門,工作臺設置于工作腔內,且工作臺上放置有盛液盒,標準板通過連接繩連接于工作腔頂部,標準板設置于盛液盒上方;表面張力儀通常采用吊環法來測定純液體表面的張力,其基本原理是將浸在液面上的標準板脫離液面,其所需的最大拉力,等于標準板自身重量加上表面張力與被脫離液面周長的乘積。
針對上述相關技術,發明人認為表面張力儀在使用前需要進行調平操作,因為是利用重力原理進行表面張力的測定,若放置表面張力儀的操作臺存在細微傾斜,會影響表面張力儀的測量結果,導致測量數據出現偏差。
便于調節的表面張力儀結構組成
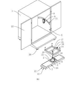
參照圖1,包括殼體1、工作臺2、盛液盒3和標準板4,殼體1內設置有工作腔5,殼體1底部設置有多個支撐腳20,在本申請實施例中,支撐腳20設置為四個,四個支撐腳20設置于殼體1的四角位置;殼體1上鉸接有兩轉動門22;工作臺2設置于工作腔5內,工作臺2上開設有與盛液盒3適配的放置槽21,盛液盒3可放置于放置槽21中,標準板4設置于盛液盒3上方,標準板4通過升降結構可升降連接于殼體1上,工作臺2上固定連接有水平儀6,在本申請實施例中水平儀6選用氣泡式水平儀,也可選擇其他體積較小的水平儀;工作臺2和殼體1之間設置有用于調平工作臺2的調平結構。
參照圖2和圖3,調平結構包括調節板7、齒輪一8、齒輪二9和用于驅動齒輪二9轉動的旋鈕10,調節板7轉動連接于殼體1內,殼體1上開設有供調節板7移動的滑槽11,調節板7的底面呈弧形凹面12設置且弧形凹面12上開設有齒槽13,調節板7頂面的兩側邊倒有倒角23;齒輪一8和齒槽13嚙合;齒輪一8和齒輪二9均轉動連接于殼體1上,齒輪一8和齒輪二9嚙合,齒輪二9的齒數小于齒輪一8的齒數,從而達到一個減速的作用,旋鈕10設置于殼體1外。
在對操作臺進行調平時,工作人員旋轉旋鈕10,驅動齒輪二9轉動,齒輪一8隨之轉動,調節板7隨齒輪一8轉動,工作人員可以一邊調節旋鈕10一邊觀測水平儀6,在本申請實施例中選用氣泡式水平儀6,當氣泡位于水平儀6的中間時,說明工作臺2處于水平狀態,停止轉動旋鈕10即完成工作臺2的調平;人工驅動使得工作人員可以一邊觀測水平儀6一邊調節調節板7。
參照圖3,升降結構包括升降架14、卷輥15和用于驅動卷輥15的電機16,升降架14固定連接于殼體1的頂面上,卷輥15轉動連接于升降架14上,電機16固定連接于升降架14上,連接繩17的一端固定連于所述卷輥15上,連接繩17的另一端固定連接有吊環18,標準板4上固定連接有掛鉤19,掛鉤19可掛接于吊環18上。
在對待測液的液面進行張力測量時,電機16驅動卷輥15轉動使連接繩17脫離卷輥15,直至標準板4進入待測液內,然后電機16反向轉動收卷連接繩17,使標準板4脫離待測液,即完成對待測液的液面張力的測量;升降架14的設置便于調節待測液的液面和標準板4之間的距離;也可以通過調節連接繩17垂落的長度對待測液的液面和標準板4之間的距離進行調節,一般連接繩17的長度是固定的,為了便于控制標準板4的高度,因為采用機械驅動,若連接繩17過長可能出現連接繩17垂落的長度無法控制的情況,從而影響測量結果。
原理
在對操作臺進行調平時,工作人員旋轉旋鈕10,驅動齒輪二9轉動,齒輪一8隨之轉動,調節板7隨齒輪一8轉動,當水平儀6顯示操作臺處于水平狀態時,即將操作臺調平;然后啟動電機16,電機16驅動卷輥15轉動,使連接繩17脫離卷輥15,標準板4進入待測液中,然后電機16驅動卷輥15反向轉動,卷輥15收卷連接繩17,使標準板4脫離待測液的液面,即完成對待測液的液面張力的測量。





